EMS国际快递是中国邮政速递物流发布的一款基于ANDROID操作的个人快件管理应用。该应用提供了快捷下单、查询服务、订单管理等一站式掌上便捷快件服务。使用者可以随时随地进行EMS的服务操作,不受时间和地点的限制。EMS覆盖全国,可以满足客户多样化、个性化的寄件需求。除此之外,EMS国际快递在国际快递上的业务也非常发达。EMS与各国(地区)邮政、海关、航空等部门紧密合作,打通绿色便利邮寄通道。EMS的揽收网点覆盖范围广,目的地投递网络覆盖能力强。此外,EMS国际快递的收费简单,不收取燃油附加费、偏远附加费、个人地址投递费。同时,用户可以全程跟踪邮件信息,随时了解邮件状态,享受邮件便捷进出口清关服务。有需要的朋友不妨下载尝试一番吧!

国际业务
一、国际(地区)特快专递
国际(地区)特快专递(简称“国际EMS”)是中国邮政与各国(地区)邮政合作开办的中国大陆与其他国家和地区寄递特快专递(EMS)邮件的 快速类直发寄递服务, 可为用户快速传递各类文件资料和物品,同时提供多种形式的邮件跟踪查询服务。
该业务与各国(地区)邮政、 海关、航空等部门紧密合作,打通绿色便利邮寄通道。 此外,中国邮政还提供保价、代客包装、代客报关等一系列综合延伸服务。
二、中速快件
中速快件是中国邮政旗下的商业快递服务,通达全球220多个国家和地区,可为客户提供快速、稳定、安全的全球寄递服务。中速快件提供从文件、货样到50kg及以上高重量段物品的门到门或门到港服务,满足客户多样性寄递的需求。
三、e特快
e特快业务是中国邮政为适应跨境电商高端寄递需求而设计的一款快速类直发寄递服务,在内部处理、转运清关、落地配送、跟踪查询、尺寸规格标准等各方面均有更高要求,是提高跨境卖家发货效率,提升客户体验,协助店铺增加好评提升流量的重要服务品牌。
四、中邮海外购
中邮海外购是中国邮政致力解决跨境电子商务进口物流服务需要,通过在线系统制单,海关电子申报,在线关税缴纳,全程状态跟踪等服务, 为境外到中国日益增长的跨境电子商务市场提供高效、正规、合法的国际个人快件包裹入境申报的配送服务。
五、商业渠道进口业务
为中国日益增长的跨境电子商务进口市场提供高效、正规合法且时限稳定的进口个人包裹入境快件申报及配送服务。
ems国际快递怎么寄?
1、打开软件,首页点击“港澳台/国际”

2、在此页面,填写你的寄件和收件地址,随后选择寄件方式

3、值得注意的是,海关申报信息是必填的哦(不知道怎么申报的看下一个教程),没有的话无法邮寄,所有资料填完后,点击提交即可。

海关申报信息怎么填?
一、申报流程介绍

二、申报常见问题
客户注册
1、客户注册时需详细了解客户必读及其他相关内容,避免产生不必要的纠纷和误解;
2、客户采用手机号,作为用户名注册,方便我们发送通知短信;
3、一个客户只能注册一个账户
物品关税
1、客户须对投递物品的具体品名、价值、数量如实进行申报,如实申报,承诺对不实申报产生的后果承担所有责任;
2、任何进口中国的个人物品,都有被征缴关税的可能,对物品对产生关税的物品,寄件人或收件人应及时赋税,否则会导致罚没或退运并会承担退运费用。
3、主要服务于私人物品,物品有品种、数量和价值的规定,详情参照海关总署公告2010年第43 号(关于调整进出境个人邮递物品管理措施有关事宜);
4、物品价值:个人寄自或寄往港、澳、台地区的物品,每次限值为800元人民币;寄自或寄往其它国家和地区的物品,每次限值为1000元人民币。
5、物品品种:物品的品种为个人日常生活用;
6、物品数量:物品数量须控制在个人自用的范围。
7、客户如对相关规定不能完全理解或执行,请及时与本公司取得联系。
身份证
根据国家相关部门发布的要求,邮件申报需上传身份证才能保证清关的快速顺利,希望小伙伴们能积极配合,给大家带来的不便请谅解!
说明:
1、身份证正面和反面需要在两个图片里。身份证正反面的朝向为横向,图像端正,不歪斜,不竖立;图片内容清晰,在适当放大后仍能清晰辨识。
2、底色不能为白色,能清晰辨识身份证边界。
3、身份证有效区域在整个图片中占比要合适,不允许出现无效部分占比过大的情况。
4、图片规格小于400KB,目前服务器支持jpg,jpeg,png格式的图片。
5、证件有效期在3个月内的不予受理。
提醒:证件拍摄器材不限,数码相机、手机均可,但最终需符合上述条件。
6、底色不能为白色,能清晰辨识身份证边界。
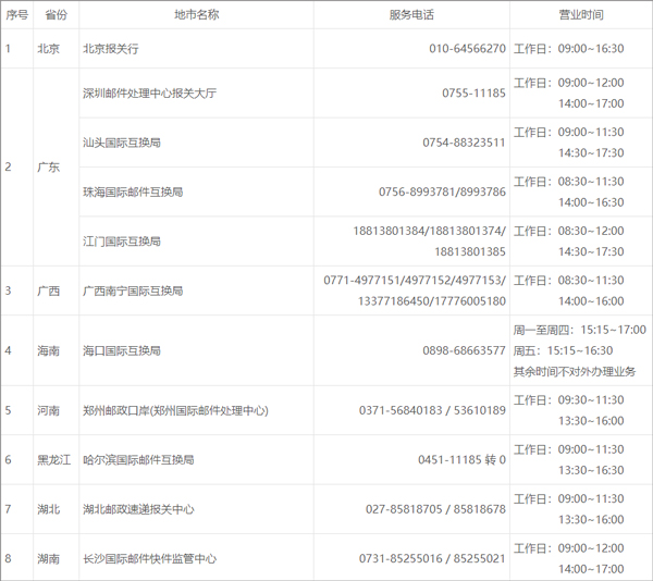
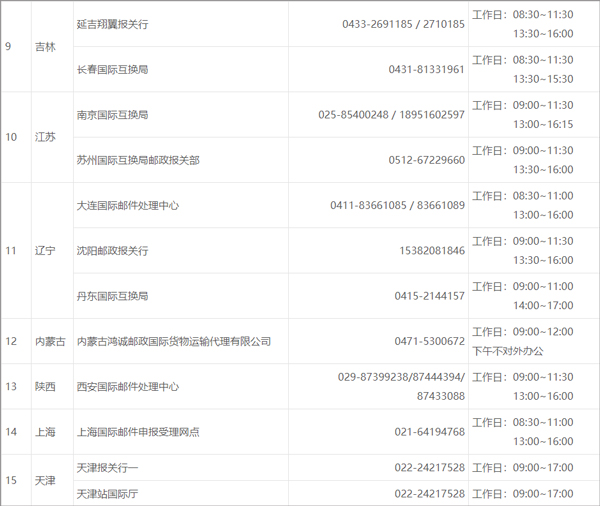
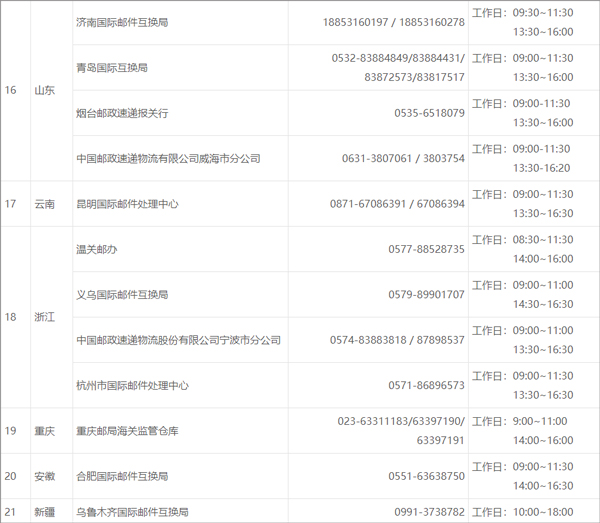
三、各地货物申报手续办理信息
邮件需按照货物规定办理通关手续,可委托速递公司或其他有进出口资质的企业及报关企业办理货物报关手续,请速提供以下单证:
1、本通知单
2、签章后的《代理委托报关书》
3、货物的正式发票或形式发票;装箱清单
4、进出口货物报关
5、合同(正本、副本、复印件)
6、邮件详情单
其他 :
以上单证需盖公司章。 本公司收到所需文件、资料以及所有费用后,即代办报关手续。 邮运进口货物自本公司向海关驻邮局办事 处申报总包之日起第15日由海关征收进口货物完税价格0.5‰的滞报金。
联系邮政公司:




惠农合作项目
一、惠农“易邮箱”
服务介绍:
易邮箱是采取按箱计费的方式,向客户提供的标识明显、规格统一、性价比高的快递包裹服务。
服务特性:
1.业务范围覆盖全国,以陆路运输为主的一项高性价比寄递服务。
2.采取按箱计费。客户可在不同型号包装箱的最大限重内,装多少寄多少,为客户节省寄递成本。适用于旅游购物、校园、特色农产品等寄递。
3.标准化包装。易邮箱共有四个箱型规格。客户可向邮政购买纸箱;也可按照邮政提供的易邮箱制作标准,自行制作、邮政监制。
二、极速鲜惠农服务
合作对象:
农民合作社、家庭农场等新型农业经营主体。
寄递服务:
为高品质农产品提供极速鲜寄递服务,借助以邮政自主航空和冷链等干线网络为核心的极速鲜寄递平台,以及邮政内外线上线下销售渠道,搭载网运优先保障、冷链专线定制、够量整车直发、主动客服跟进、快速理赔机制等在内的增值服务,致力于为农民合作社、家庭农场等新型农业经营主体搭建一条高效、极速、绿色的农产品进城通道。
邮政邮件禁止寄递的物品有哪些
国内邮件禁止寄递的物品
一、枪支(含仿制品、主要零部件)弹药
1、枪支(含仿制品、主要零部件):如手枪、步枪、冲锋枪、防暴枪、气枪、猎枪、运动枪、麻醉注射枪、钢珠枪、催泪枪等
2、弹药(含仿制品):如子弹、炸弹、手榴弹、火箭弹、照明弹、燃烧弹、烟幕(雾)弹、信号弹、催泪弹、毒气弹、地雷、 手雷、炮弹、火药等。
二、管制器具
1、管制刀具:如匕首、三棱刮刀、带有自锁装置的弹簧刀(跳刀)、 其他相类似的单刃、双刃、三棱尖刀等。
2、其他:如弩、催泪器、催泪枪、电击器等。
三、爆炸物品
1、爆破器材:如炸药、雷管、导火索、导爆索、爆破剂等。
2、烟花爆竹:如烟花、鞭炮、摔炮、拉炮、砸炮、彩药弹等烟花爆竹及黑火药、烟火药、发令纸、引火线等。
3、其他:如推进剂、发射药、硝化棉、电点火头等。
四、压缩和液化气体及其容器
1、易燃气体:如氢气、甲烷、乙烷、丁烷、天然气、液化石油气、乙烯、丙烯、乙炔、打火机等。
2、有毒气体:如一氧化碳、一氧化氮、氯气等。
3、易爆或者窒息、助燃气体:如压缩氧气、氮气、氦气、氖气、气雾剂等。
五、易燃液体
1、如汽油、柴油、煤油、桐油、丙酮、乙醚、油漆、生漆、苯、酒精、松香油等。
六、易燃固体、自燃物质、遇水易燃物质
1、易燃固体:如红磷、硫磺、铝粉、闪光粉、固体酒精、火柴、活性炭等。
2、自燃物质:如黄磷、白磷、硝化纤维(含胶片)、钛粉等。
3、遇水易燃物质:如金属钠、钾、锂、锌粉、镁粉、碳化钙(电石)、氰化钠、氰化钾等。
七、氧化剂和过氧化物
1、如高锰酸盐、高氯酸盐、氧化氢、过氧化钠、过氧化钾、过氧化铅、氯酸盐、溴酸盐、硝酸盐、双氧水等。
八、毒性物质
1、如砷、砒霜、汞化物、铊化物、氰化物、硒粉、苯酚、汞、剧毒农药等。
九、生化制品、传染性、感染性物质
1、如病菌、炭疽、寄生虫、排泄物、医疗废弃物、尸骨、动物器官、肢体、未经硝制的兽皮、未经药制的兽骨等。
十、放射性物质
1.如铀、钴、镭、钚等。
十一、腐蚀性物质
1.如硫酸、硝酸、盐酸、蓄电池、氢氧化钠、氢氧化钾等。
十二、毒品及吸毒工具、非正当用途麻醉药品和精神药品、非正当用途的易制毒化学品
1.毒品、麻醉药品和精神药品:如鸦片(包括罂粟壳、花、苞、叶)、吗啡、海洛因、可卡因、大麻、甲基苯丙胺(冰毒)、氯胺酮、甲卡西酮、苯丙胺、安钠咖等。
2、易制毒化学品:如胡椒醛、黄樟素、黄樟油、麻黄素、伪麻黄素、羟亚胺、邻酮、苯乙酸、溴代苯丙酮、醋酸酐、甲苯、丙酮等。
3、吸毒工具:如冰壶等。
十三、非法出版物、印刷品、音像制品等宣传品
1、如含有反动、煽动民族仇恨、破坏国家统一、破坏社会稳定、宣扬邪教、宗教极端思想、淫秽等内容的图书、刊物、图片、照片、音像制品等。
十四、间谍专用器材
1、如暗藏式窃听器材、窃照器材、突发式收发报机、一次性密码本、密写工具、用于获取情报的电子监听和截收器材等。
十五、非法伪造物品
1、如伪造或者变造的货币、证件、公章等。
十六、侵犯知识产权和假冒伪劣物品
1、侵犯知识产权:如侵犯专利权、商标权、著作权的图书、音像制品等。
2、假冒伪劣:如假冒伪劣的食品、药品、儿童用品、电子产品、化妆品、纺织品等。
十七、濒危野生动物及其制品
1、如象牙、虎骨、犀牛角及其制品等。
十八、禁止进出境物品
1、如有碍人畜健康的、来自疫区的以及其他能传播疾病的食品、药品或者其他物品;内容涉及国家秘密的文件、资料及其他物品。
十九、其他物品
1、《危险化学品目录》《民用爆炸物品品名表》《易制爆危险化学品名录》《易制毒化学品的分类和品种目录》《中华人民共和国禁止进出境物品表》载明的物品和《人间传染的病原微生物名录》载明的第一、二类病原微生物等,以及法律、行政法规、国务院和国务院有关部门规定禁止寄递的其他物品。
更新日志
v4.1.5版本
1、登录功能优化
2、国内协议客户门户功能优化
3、修复已知问题


天猫精灵APP
白云生APP租房找房
广东天气预报软件
健康时报APP下载
17TRACK全球物流查询
南通人社下载_南通人社app安卓版
巴乐兔租房APP
易人社系统APP